︎
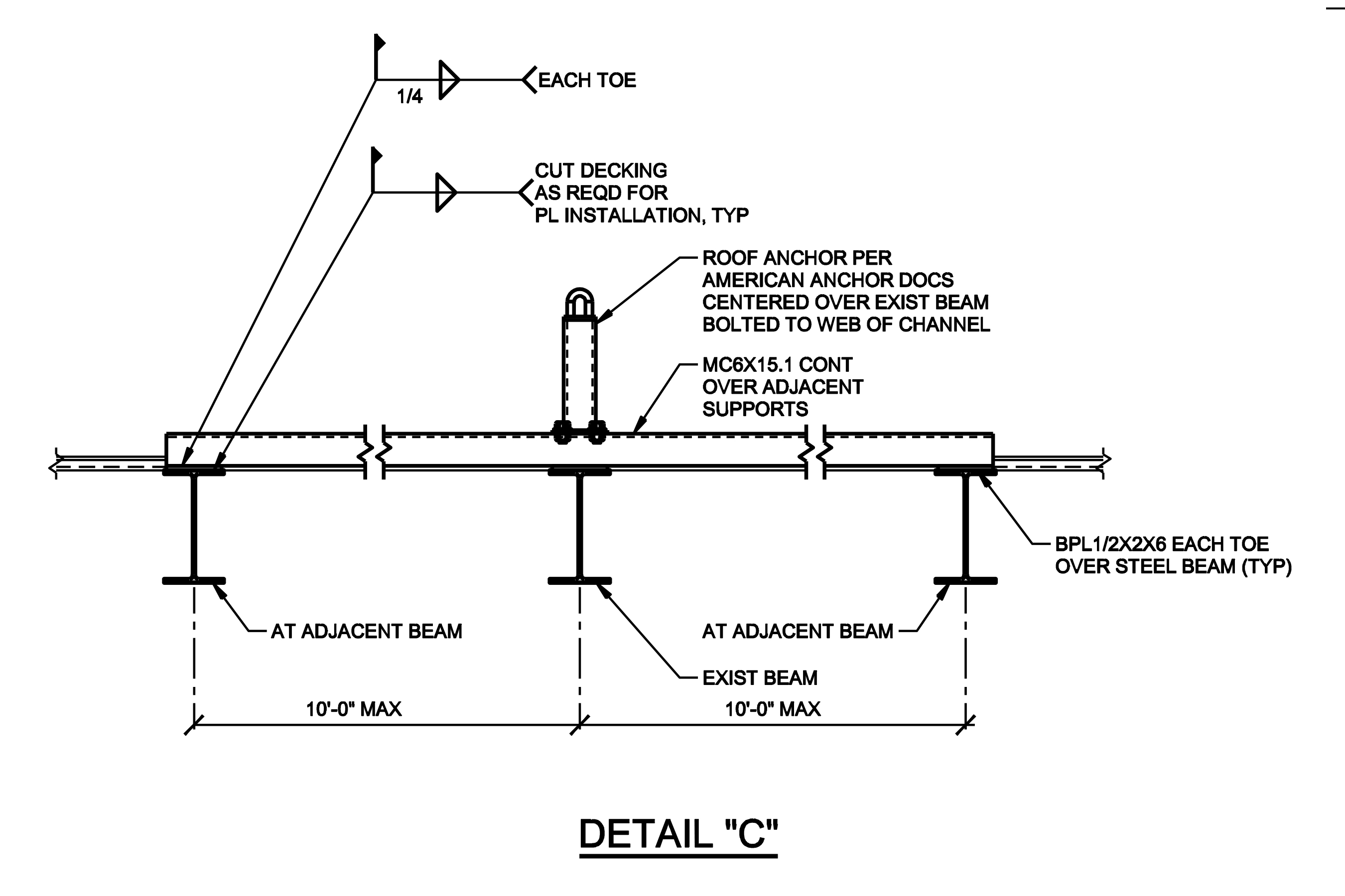
Shadyside Roof Anchor Details
Worked on at MCF for an existing hospital.
︎
© Vic Yong
Running on Cargo